Uy lực pháo ‘tay đấm bốc’ Đức bắt tay sản xuất trong lãnh thổ Ukraine
Nhà phân tích công nghiệp quốc phòng Nicholas Drummond cho hay, dây chuyền này sẽ được sử dụng để sản xuất pháo tự hành bánh lốp RCH 155 cho quân đội Ukraine.

Trang Defence Blog đưa tin, KMW đưa dây chuyền trên vào hoạt động chỉ vài tuần sau khi Berlin tuyên bố chuẩn bị kế hoạch cung cấp khí tài và đạn pháo cho Kiev.
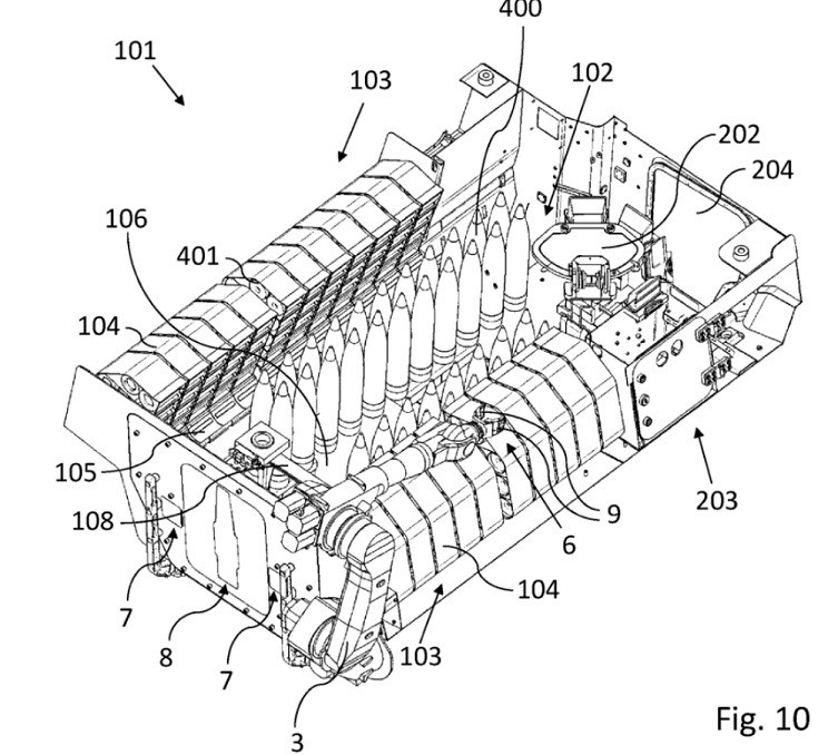
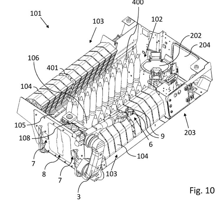
Boxer RCH 155 ‘tay đấm bốc’ có thể được coi là sự kết hợp của công nghệ pháo tự hành PzH 2000 đặt trên khung gầm xe bọc thép chở quân bánh lốp Boxer.
Theo số liệu từ trang quân sự Military Today, Boxer RCH 155 có trọng lượng khoảng 35 tấn; dài 10,5m (tính cả nòng pháo); rộng 2,99m; cao 3,5m. Kíp chiến đấu có 2 người gồm lái xe và xạ thủ.
Do có khung gầm là xe Boxer, nên vỏ giáp của loại pháo này có thể chống được sức công phá của đạn cỡ 14,5mm hay những mảnh bom văng.

Boxer RCH 155 được trang bị động cơ MTU 8V199 TE20 có công suất lên tới 805 mã lực. Nhờ vậy, xe có thể chạy với vận tốc tối đa lên tới 103 km/giờ trên địa hình bằng phẳng, với tầm hoạt động đạt hơn 1.000km.

Pháo chính của Boxer RCH 155 là loại 155mm L52 do hãng Rheinmetall sản xuất, với cơ số đạn tối đa có thể mang theo là 30 viên. Khả năng nâng góc nòng của L52 nằm trong khoảng từ -2,5 đến 65 độ, với tốc độ bắn đạt khoảng 6-8 phát/phút. Tầm bắn của Boxer RCH 155 với đạn thông thường và đạn tăng tầm lần lượt là 30km và 56km.
Tuấn Trần